Skip to main content
menu
Hírek
chevron_right
Friss hírek
Cikkek
chevron_right
Cikkek
Tesztek
Szoftvertesztek
Tippek-trükkök
Technológiák
Blogok
chevron_right
Blogok
Computex 2025
Mobile World Congress 2025
CES 2025
Computex 2019
Mobile World Congress 2019
Blogok
Blogok
Computex 2025
Egyelőre úgy tűnik, hogy a MediaTek és a Windows nem lesznek barátok
Több új kapcsolót is bemutatott a Cherry a Computexen
Új ADM (szinte) minden ASUSTOR NAS-hoz
Synology PAS7700 – NVMe tároló vállalati feladatokhoz
Synology C2 Surveillance: felhő alapú videomegfigyelés
Korábbi kiállítások
Computex 2025
Mobile World Congress 2025
CES 2025
Computex 2019
Mobile World Congress 2019
Cikkek
Cikkek
Tesztek
Motorola Edge 70 Fusion okostelefon teszt
Samsung Galaxy S26 Ultra teszt
Honor Magic8 Lite teszt
Honor Magic8 Pro teszt
Hama USB dokkoló körkép: kicsik és nagyok
Szoftvertesztek
Everything: a legjobb fájlkereső Windowsra
Tippek-trükkök
Ezek a legfontosabb szempontok NAS vásárlásakor
Technológiák
Telefontöltő kisokos; avagy miért fontos a jó töltő, és mi az a GaN?
Hírek
Hírek
Legfrissebb
Hoppá, MacBook 300 ezer forint alatt
Új iPad Air tabletek érkeztek
A Panasonic is kiszállt a tévék piacáról
Visszavesz kicsit a mesterséges intelligenciából a Microsoft
Villámgyors merevlemezeket jelentett be a Western Digital
Fontos
Hoppá, MacBook 300 ezer forint alatt
Új iPad Air tabletek érkeztek
A Panasonic is kiszállt a tévék piacáról
Visszavesz kicsit a mesterséges intelligenciából a Microsoft
Villámgyors merevlemezeket jelentett be a Western Digital
Keresés
vicces
Fizethesz szelfivel is
Ha jól nézel ki és küldesz fotót, akkor adunk pénzt is - és ezzel Kínában úgy tűnik, senkinek sincs problémája.
2016. december 7., 15:29
Tökfilkók szövetsége
Elloptak egy új BMW-t – a történetből kiderül, hogy nemcsak a bűnözéshez kell némi ész, de a becsületes élethez is.
2016. december 5., 15:59
Karácsonyi ajándék játékőrülteknek
Már most elkezdhet spórolni az, aki játékterem-kedvelő ismerősét szeretné meglepni egy igazán komoly ajándékkal.
2016. október 28., 17:23
Érzékeny a Samsung a Note 7-es poénokra
Nem elég a pénzügyi veszteség, a Samsungnak le kell nyelnie a Note 7-es poénok tömegét is. Nem mindig sikerül.
2016. október 20., 11:39
Hajlékonymetál
Az, hogy a flopi-meghajtóval zenélni lehet, nem újdonság, de bonyolultabb műveket eddig nem játszottak le vele.
2016. október 13., 10:59
Veszélyes billentyűzet
Ergonómiából alighanem elégtelenre vizsgázna, de védekezésre kiváló ez a raaawrr készítette billentyűzet.
2016. szeptember 28., 20:59
Ne fúrd ki az iPhone 7-et!
A mikróban tölthető telefonok óta nem csodálkozunk azon, hogy vannak, akik fúróval készítenek jack aljzatot.
2016. szeptember 26., 11:49
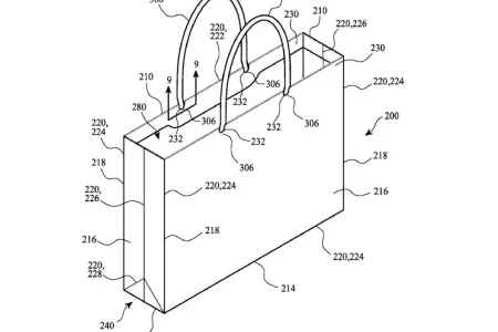
Az Apple feltalálta...
…a papírzacskót! Legalábbis úgy tűnik az utóbbi idők egyik legviccesebb és leghülyébb szabadalmi kérelméből
2016. szeptember 20., 20:59
Boxer kockáknak?
Mérges kockák, rendszergazdák vagy hasonló foglalkozást űzők pénztárcáját célozhatja az alábbi "használati tárgy".
2016. szeptember 15., 20:59
A vezeték nélküli füles vezetékesítése
Szépen sikerült az Apple AirPods fülese, kár is lenne elhagyni. Még jó, hogy valakinek eszébe jutott a megoldás.
2016. szeptember 13., 15:24
Load More
Subscribe to vicces